作为一代经典,摩托罗拉的RAZR(刀锋)系列手机曾收获不少粉丝,近日有消息显示,摩托罗拉准备复刻这一经典产品。现在一款摩托罗拉新机的外观专利被世界知识产权组织公布,这款新机的外观与摩托罗拉经典产品RAZR V3非常相似,看来摩托罗拉准备复刻RAZR手机并不是空穴来风的消息。

摩托罗拉RAZR手机
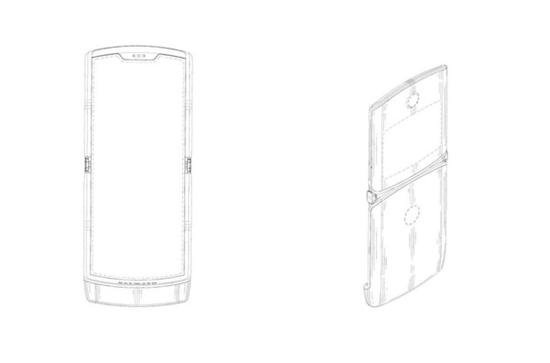
根据专利内容来看,这款RAZR系列手机采用了颇具特色的折叠屏设计,将其展开后就会变为一个触屏手机。另外,这款手机的外侧还会配备一个小屏幕,同时配备指纹识别功能。如果你当年曾经使用过RAZR V3,那么这种设计一定能唤起你的回忆。

摩托罗拉RAZR手机

前几日有报道称这款复刻版的RAZR手机将在MWC2019大会上正式亮相,产品售价高达1500美元,可见这是一款不折不扣的情怀产品了。另外,联想将这款手机的计划出货量定在了20万台,估计能吸引不少当年喜欢RAZR系列手机的粉丝吧。