说起三星Note系列手机,除了大屏幕和长续航等优点外,手机附带的三星S-Pen也是该系列的一大特色。此前曾有消息称,新版三星S-Pen竟然可以用于拍照,这无疑进一步激发了网友对三星Note10及其搭配的S-Pen的好奇。

三星Note10渲染图
4月3日,三星Note10全新渲染图在网上曝光。根据渲染图所示,三星Note10总体外观设计相比于三星S10更加硬朗,这也符合以往三星Note系列的设计风格。该机采用Infinity-O打孔屏,屏幕右上角有一椭圆形开孔,前置双摄,看上去与三星S10+基本类似。手机背面设计较为简约,后置四摄,三星logo至于摄像头下方。

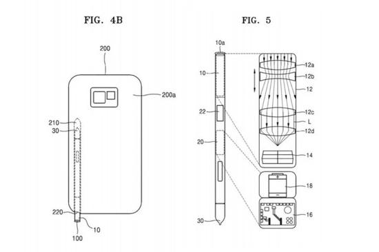
新三星S-Pen专利图
与三星Note10渲染图一同曝光的还有S-Pen专利图。据专利图显示,新一代三星S-Pen内置摄像头,支持光学防抖和变焦。不过该设计的实用性还有待考证,如果在S-Pen加入摄像头可能会增加触控笔的体积,甚至会压缩其他手机元器件的空间,比如占面积较大的相机模组。